冷却塔的选型及应用
冷却塔性能不足,对空调系统的影响:
以1000RT水冷机组为例,冷却水流量200L/s,湿球温度28℃,冷却塔参数:
容量比例 | 冷却水进水温度 | 冷却水出水温度 | 功率 | 功率差 |
100% | 37 | 32 | 37KW | |
80% | 38.5(4%↑) | 33.5(4.7%↑) | 30KW | -7KW |
70% | 39.5(6.8%↑) | 34.5(7.8%↑) | 22KW | -15KW |
冷却水进水温度对机组能效比的影响:
冷却水进水温度 | COP | 制冷量 | 能耗增加↑ |
32℃ | 5.369 | 3517KW | |
33℃ | 5.289 (1.5%↓) | 3485KW(1%↓) | 10KW |
33.5℃ | 5.234(2.5%↓) | 3450KW(2%↓) | 17KW |
34.5℃ | 5.124(4.6%↓) | 3377KW(4%↓) | 31KW |
系统所节省的费用:
以电价1元/KW/H计算,每天运行16小时;每月30天;每年供冷时间5个月;平均使用系数0.7:
100%冷却塔+主机 运行费用 | 70%冷却塔+主机 运行费用 | |
功率(KW) | 655+37=692 | 686+22=708 |
费用/天(RMB) | 11072 | 11328 |
费用/月(RMB) | 332160 | 339840 |
费用/年(RMB) | 1189440 | |
节省费用/年(RMB) | 26880 | |
节省费用/年(RMB) | 134400 | |
节省费用/10年(RMB) | 268800 | |
节省费用/15年(RMB) | 403200 | |
水冷冷却塔原理:
温差=进水温度-出水温度
5℃=37℃-32℃,6℃=38℃-32℃。
逼近度=出水温度–湿球温度
4℃=32℃-28℃,3℃=32℃-29℃。
冷却塔散热量KWh=C×M×△T(C=4180J/kg·℃)
冷却塔标准冷吨定义:3GPM水在湿球温度为78℉时,从95℉冷却到85℉。
1 标准冷吨= 4.395KW
蒸发速度=温差×0.001×100%,例:Range=9℉,Evaporation Rate=0.9%。
排污率:排污率= 蒸发率/(COC-1)
COC:浓缩倍率(通常取浓缩倍率为4)
横流塔漂水率<0.001%,逆流塔<0.001%,补水率=蒸发率+排污率+漂水率。
横流塔 | 逆流塔 | |
蒸发率 | 0.9% | 0.9% |
排污率 | 0.3% | 0.3% |
飘水率 | 0.001% | 0.001% |
合计 | 1.201% | 1.201% |
每台塔都有对应的最低水量和最高水量要求;冷却塔应针对不同流量,应由不同口径大;冷却泵如变频,请务必考虑冷却塔最低水量。
冷却塔结冰常识:
冷却塔结冰,与采用冷却塔种类无关。
冷却塔结冰主要与冷却水温和环境温度有关系;当冷却水温出水温度小于9℃时,已经存在结冰倾向。避免冷却塔结冰更重要来源于冷却水系统。
冷却塔结冰与冷却塔形式无关!
逆流塔结冰位置:
冷却塔结冰主要原因分析:
冷水机组制冷量:850RT,温差:5.3℃,冷冻水流量:518m3/h。
冷却塔型号 | 18.8 ℃/13.5 ℃进出水温,不同湿球温度处理水量 | ||
3618C-2 | 8℃ | 570m3/h | 10% |
7℃ | 635m3/h | 18.5% | |
6℃ | 693m3/h | 25.3% | |
5℃ | 748m3/h | 30.7% | |
4℃ | 800m3/h | 35.3% | |
3℃ | 850m3/h | 39% | |
2℃ | 899m3/h | 42.4% | |
1℃ | 945m3/h | 44.2% | |
如果强制全满载运行
冷却塔型号 | 湿球温度 | 570m3/h流量,进出水温℃ | 518m3/h流量,进出水温℃ | ||
3618C-2 | 8℃ | 18.8 | 13.5 | 18 | 12.8 |
7℃ | 18 | 12.7 | 17.3 | 12 | |
17.2 | 11.9 | 16.5 | 11.2 | ||
5℃ | 16.4 | 11.1 | 15.7 | 10.4 | |
4℃ | 15.6 | 10.4 | 14.9 | 9.6 | |
3℃ | 14.9 | 9.6 | 14 | 8.8 | |
2℃ | 14.1 | 8.8 | 13.3 | 8 | |
1℃ | 13.3 | 8 | 12.4 | 7.2 | |
建议出水温度低时,优先降载风扇转速
冷却塔型号 | 湿球温度 | 570m3/h流量,进出水温℃ | 原风扇转速 | 570m3/h流量,进出水温℃ | 降载风扇转速 | ||
3618C-2 | 8℃ | 18.8 | 13.5 | 100% | 18.8 | 13.5 | 100% |
7℃ | 18 | 12.7 | 100% | 18.8 | 13.5 | 89% | |
6℃ | 17.2 | 11.9 | 100% | 18.8 | 13.5 | 81% | |
5℃ | 16.4 | 11.1 | 100% | 18.8 | 13.5 | 75% | |
4℃ | 15.6 | 10.4 | 100% | 18.8 | 13.5 | 70% | |
3℃ | 14.9 | 9.6 | 100% | 18.8 | 13.5 | 65% | |
2℃ | 14.1 | 8.8 | 100% | 18.8 | 13.5 | 62% | |
1℃ | 13.3 | 8 | 100% | 18.8 | 13.5 | 59% | |
避免结冰主要措施:
尽量保持原有设计水量,冬天不减水量运行;湿球温度偏离设计值时,优先降载风扇转速;建筑热负荷变低时,优先降载风扇转速;建议冬天运行冷却塔采用变频控制为宜。
横流塔放置结冰措施:
冷却水系统设计先决条件:
A.冷却水出水温度≥9℃;
B.散热变小时,应优先降低风扇的转速;
冷却塔改善措施:
A.选择兼顾冬天极端天气和正常天气的合理喷嘴大小;
B.底部水盘增加电加热器和控制器;
C.在进风百叶处可添加电棒热带。
冷却塔选型:
1)冷却水进出口温度;
2)湿球温度;
3)冷却水流量或散热量。
冷却塔要求的水量可按以下公式计算:
qm,w=0.86QC/Δt=0.86kQe/Δt
qm,w:冷却塔水量(t/h);
Qc:冷凝器负荷(KW);
Qe:蒸发器负荷(KW);
Δt:冷却水进出口温差(℃),压缩式制冷机Δt=5℃,吸收式制冷机Δt=6℃;
K:考虑制冷机功耗的热量系数,对压缩式制冷机,K=1.25~1.3。
冷却塔容量变化不同湿球温度下:
进口温度 | 出口温度 | 湿球温度 | 处理量 | 变化比率 |
35 | 29.44 | 25.56 | 985RT | 1 |
37 | 32 | 29 | 683m3/h | 0.7 |
37 | 32 | 28 | 786m3/h | 0.8 |
37 | 32 | 27 | 877m3/h | 0.9 |
37 | 32 | 26.4 | 928m3/h | 0.94 |
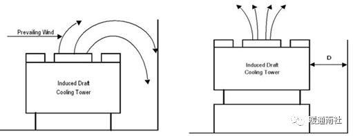
冷却塔布置:
基本原则:
尽量将冷却塔布置于开阔区域,避免把冷却塔放置在建筑物的新风口或是人群密集处。
避免把冷却塔放置在白雾会造成不良后果的地方,如有大面积玻璃的场所,高速公路等。
避免热风回流,冷却塔出口要等于或高于临近建筑物,墙壁等,布置方向上应考虑季风影响。
确保冷却塔进风口有足够的新风,保证冷却塔性能。
确保冷却塔周围有足够的布管和检修空间。
对于室内安装,应用使用离心式风扇的产品。
针对不同的工地情况,冷却塔该怎么布置?
1.冷却塔单面靠墙
要求:
出风口完全开放,比周边墙高或与墙等高;
如果冷却塔单面进风则应将进风面面对开放区域;
如果进风口面对墙壁,则与墙壁的间距应该满足。
单面靠墙,进风面与墙的距离d的要求:
2.井式安装
要求:
水塔的出口完全开放,并应高于或等高于相邻的墙;
水塔应该安装在空地中央;
保证进风面与墙之间留有足够的距离,下降风速应该小于2m/s。
3.冷却塔周围有百叶墙
要求:
百叶墙必须有50%以上的通风面积,通过百叶墙的风速应该小于3m/s;
水塔应该安装在空地中央;
水塔进风口和百叶墙之间的距离至少为1m。
布置二:仅限于单台或两联台的应用,百叶有效面积从进风口向外开始算起。
4.冷却塔室内安装
布置要求:
如果设备会摆放在室内或地下室,应该选择离心风扇鼓风式冷却塔。
进风-四周的墙壁应该为百叶或开孔墙壁,或使用风管把室外的新鲜空气引入到冷却塔进风口。
排风–可外接风管,选型时要考虑ESP。
风管及风速的要求:
进风风管内的风速不应大于4m/s的速度,排风风管内的风速不应大于5m/s。过大的风速会增加外部静压损失。
单台设备应该作为一个独立的系统来接进风和排风风管,所有风管应该保持相同尺寸来保证每台风扇所需克服的外部静压相同。
进风和排风风管都需要配有检修门。
应尽量避免在进风和排风口使用弯头。如果必须要使用弯头,请参考以上图片,弯头的高度应该遵循2/3原则。
5.多台安装
要求:
连接布置的冷却塔数不超过4台;
并排的多塔连接之间距离需要保持一个水塔的长度L;
进风面相对,其间距M的最小值应满足算式:M=2d+连台台数×0.3m。
错误:进风面离实体墙距离太近。
建议:增加进风面离墙距离,实体墙改为百叶墙。
冷却塔噪音控制:
噪音敏感区域:酒店/裙楼屋顶/学校/图书馆/居民区。
噪音不敏感区域的应用:机场、工厂、高楼屋顶。
关于声音:
声音的感知:
2倍的分贝值≠2倍的声音大小;
每10分贝的差值相当于声音增强1倍 或减小1半。
GB22337-2008《社会生活环境噪声排放标准》:
降低噪音的几种方法:
(一)改变冷却塔的放置位置和方向
利用建筑物或其他遮挡物,可降低10到15dB(A);
中间有建筑物/树林挡住,冷却塔安装在室内,消声墙/百叶/格栅;
将冷却塔的背面(非进风面)面向噪音敏感区域,可最多降低10dB(A)。
(二)选择较大的冷却塔
选择偏大的冷却塔并减少风机转速-可减少大约2~3dBA。
(三)双速马达,双马达及变频马达驱动
特别适合于不同负荷的调节,如夜间时,负荷减少,同时对噪音的要求更高。
(四)加装消音器
(五)低噪音风扇
可降低噪音 4~10dB,热力性能损失:-3%。
(六)超低噪音风扇
可降低噪音9~22dBA,热力性能损失:3%~5%。
(七)选用离心风扇V系列逆流塔
轴流风机和离心风机冷却塔:相同冷量下,离心风机冷却塔的噪音小于轴流风机冷却塔。
附:声音的叠加
冷却塔白雾:
白雾是怎样形成的?
冷却塔排出的湿热空气在和大气混合的过程中,被冷却至露点温度以下,空气所含的水蒸气冷凝形成成白雾。
为什么需要防白雾?
1、安全:白雾影响可见度,特别是在对可见度敏感的地方,如机场、公路。
2、美观/对邻近建筑或居民的影响:虽然白雾本质是水蒸气冷凝而成,但容易被公众误解为着火烟雾。
影响周围居民或酒店入住者的生活。
影响邻近土地的使用,对不动产价值产生负面影响。
白雾形成的理论分析:
防白雾的方法:
方法1:加热出口空气
理论:
将出风口空气状态从B点加热 到B’点,使混合线落在非饱和区。
热源:冷却塔本身热水;外部热源,如热水热气。
优点:防白雾效果比较明显。
缺点:初投资高;需要提供外部热源,消耗能源;出风口背压增大,并不对所有塔形适用,要逐一案例做分析设计;加热翅片管结垢难于清洗,影响换热效率和冷却塔性能。
可以减少白雾,节约用水;
闭式塔,与开式塔相比,可以保证水质干净;初投资高。
方法2:干湿填料结合
防白雾运行时,间隔挡住部分填料,形成干式填料。
通过干湿填料的空气混合后排出塔外。
点1:大气状态点;
线1-2:穿越湿式填料空气状态;
线1-3:穿越干式填料空气状态;
线2-3:穿越干、湿填料的空气混合线;
点(4):干湿空气混合后的状态点;
线 4-1:排气与大气的混合线。
优点:
无需外部热源缺点:
1、增加初投资;
2、干湿空气不能充分混合,除白雾效率低;
3、冷却塔体积增大;
4、增加维护工作,防白雾运行时要人工去遮挡干式填料和堵喷嘴。
5、冷却水易飞溅至干式填料,冬季运行容易造成结冰。
方法3:增大冷却塔
理论:放大冷却塔,增加冷却塔进气量。
使出风口空气状态从B点变为B’点,从而使混合线落在非饱和区。
应用:放大冷却塔,使用变频调节空气流量,以适用于不同的热负荷。
优点:
安装运行维护简便;不需要额外热源,不需要增加额外维护;在不需防白雾的时候,可以降低冷却塔噪音。
缺点:增加初投资;冷却塔体积变大。
防白雾分析及白雾曲线:
关注点:
1、白雾的产生与大气状态有关,大气温度越低,湿度越大,越容易产生白雾。
2、找出一年中最容易产生白雾的环境空气状态。
3、找出出现这种天气的几率(天数)。
4、可以被接受的标准。
白雾曲线:产生白雾的临界空气状态点的集合;
当环境状态落在饱和曲线和白雾曲线之间,则会产生白雾;
当环境状态落在白雾曲线下方,则可防止白雾的产生。环境状态点白雾曲线越远,则越能有效的防止白雾的产生。
防止白雾的产生,没有完美的方法,所有的防白雾方法都会增加初投资,有些方法还会影响冷却塔热力性能。
但在某些对白雾敏感的场所,采取适当的防白雾措施是必要的。需要因地制宜,根据不同的应用选取适当的方法。
综合比较上述三种防白雾措施,放大塔型是经济有效的,也是推荐的方法。
本文转载来源:暖通南社



